FALAミニバッグフィルターハウジングは精密鋳造方式をベースに設計されています。
鋳造部分はSUS316製のため、ハウジングは非常に耐久性があり高圧下の使用が可能です。操作性が良く取り扱いも簡単です。ミニバッグフィルターハウジングは01及び02サイズがあり、最大使用圧力は1.6MPa(160℃)、また最大流量は6(12)m3/hとなっています。
また、T-ボルトタイプの蓋をベースにしたハウジングも利用可能です。
標準ミニバッグフィルターハウジング
T-ボルトタイプミニバッグ
フィルターハウジング
| ハウジングタイプ | サイドエントリーミニバッグフィルターハウジング | ||
|---|---|---|---|
| 品目コード | BFS-101 | BFS-102 | |
| 材質 | SUS304/SUS316 | SUS304/SUS316 | |
| 最大運転圧力(MPa) | 1.6 | 1.6 | |
| 最高運転温度(℃) | 160 | 160 | |
| 標準接続(入口/出口) | 25A 雌ねじソケット | 25A 雌ねじソケット | |
| 最大流量(m3/h)at 1mPa.s | 6 | 12 | |
| 推奨流量(m3/h)at 1mPa.s | 3 | 6 | |
| バッグサイズ | 01(Φ10×23cm) | 02(Φ10×38cm) | |
| フィルター総表面積(m2) | 0.08 | 0.15 | |
| 概略ハウジング容量(リットル) | 3 | 6 | |
| 概略ハウジング空重量(kg) | 8 | 10 | |
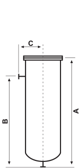
| 概略寸法(mm) | A | 357 | 512 |
| B | 297 | 452 | |
| C | 113 | 113 | |
